登录后免广告,享受更多奶昔会员权益!
您需要 登录 才可以下载或查看,没有账号?注册
×
机器配置
| VPS 购买地址⬇️ |
SKU |
CPU |
RAM |
SSD |
Traffic |
IP |
价格 |
| BandwagonHost #AFF |
SPECIAL 40G KVM PROMO V5 - HONG KONG CN2 GIA |
2C |
2G |
40G |
0.5T / 2.5Gbps |
IPv4/IPv6 |
89USD/Month |


系统参数硬件性能
Basic System Information:
---------------------------------
Uptime : 0 days, 2 hours, 34 minutes
Processor : AMD EPYC-Genoa Processor
CPU cores : 2 @ 2794.750 MHz
AES-NI : ✔ Enabled
VM-x/AMD-V : ❌ Disabled
RAM : 2.0 GiB
Swap : 1024.0 MiB
Disk : 40.0 GiB
Distro : Debian GNU/Linux 12 (bookworm)
Kernel : 6.12.38+deb13-amd64
VM Type : KVM
IPv4/IPv6 : ✔ Online / ❌ Offline
IPv4 Network Information:
---------------------------------
ISP : IT7 Networks Inc
ASN : AS25820 IT7 Networks Inc
Host : Cluster Logic Inc
Location : Hong Kong, Kowloon ()
Country : Hong Kong
fio Disk Speed Tests (Mixed R/W 50/50) (Partition -):
---------------------------------
Block Size | 4k (IOPS) | 64k (IOPS)
------ | --- ---- | ---- ----
Read | 223.90 MB/s (55.9k) | 1.95 GB/s (30.5k)
Write | 224.49 MB/s (56.1k) | 1.96 GB/s (30.7k)
Total | 448.39 MB/s (112.0k) | 3.91 GB/s (61.2k)
| |
Block Size | 512k (IOPS) | 1m (IOPS)
------ | --- ---- | ---- ----
Read | 809.06 MB/s (1.5k) | 471.11 MB/s (460)
Write | 852.04 MB/s (1.6k) | 502.49 MB/s (490)
Total | 1.66 GB/s (3.2k) | 973.60 MB/s (950)
Geekbench 5 Benchmark Test:
---------------------------------
Test | Value
|
Single Core | 1101
Multi Core | 2089
Full Test | https://browser.geekbench.com/v5/cpu/24072176
SysBench CPU 测试 (Fast Mode, 1-Pass @ 5sec)
---------------------------------
1 线程测试(单核)得分: 3660 Scores
2 线程测试(多核)得分: 7342 Scores
SysBench 内存测试 (Fast Mode, 1-Pass @ 5sec)
---------------------------------
单线程读测试: 41443.62 MB/s
单线程写测试: 24394.12 MB/s
ITdog — IPv4 质量测试
声明;为什么有那么多红条,我测试过程中切换dns红条就变绿但不能全绿,正常的又红条;反正默认dns去测试总有几个这样,这个也问过瓦工但是还没回复我
Connectivity
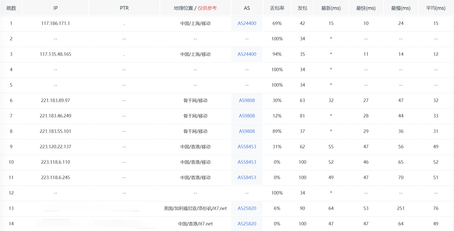
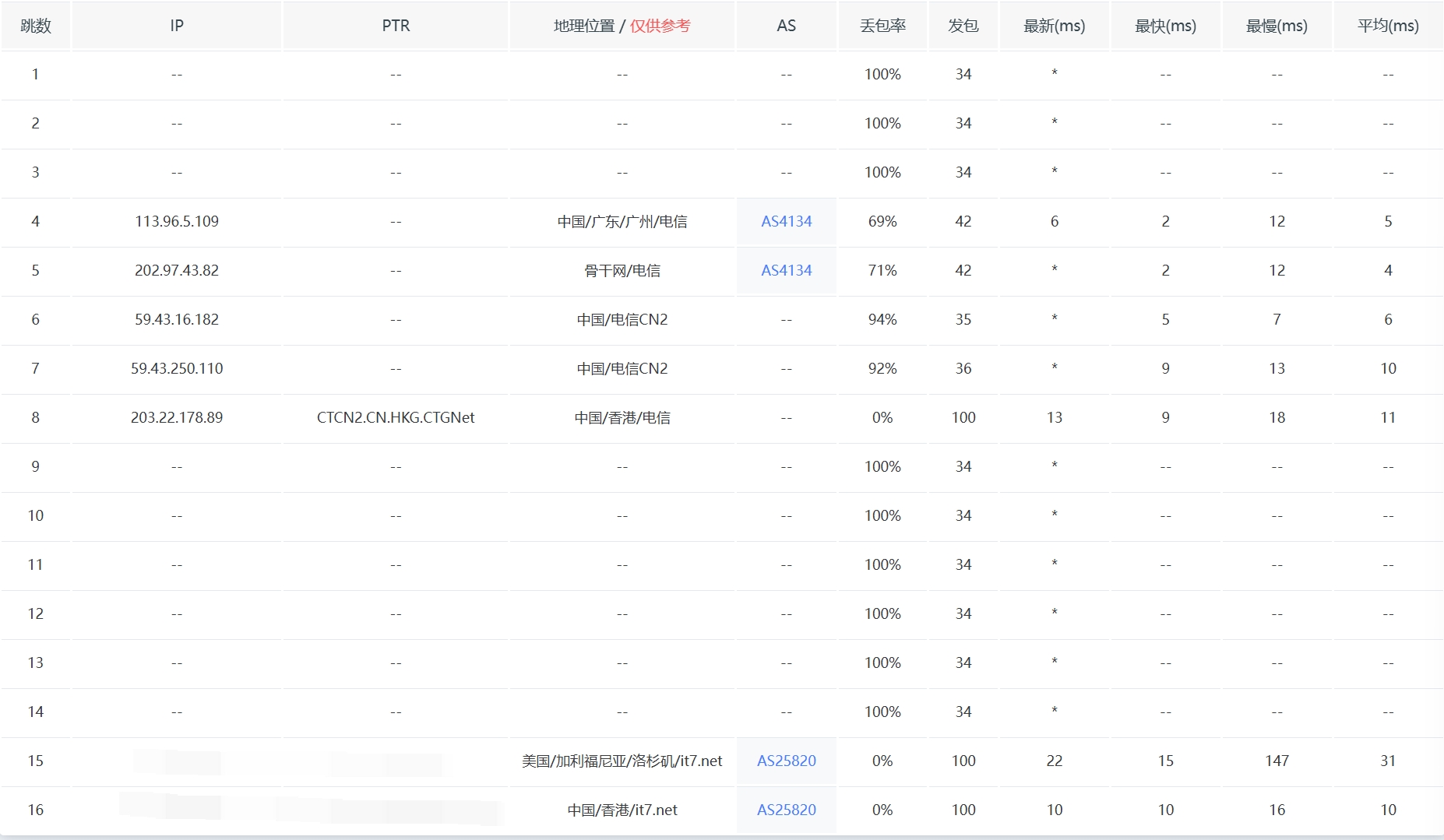
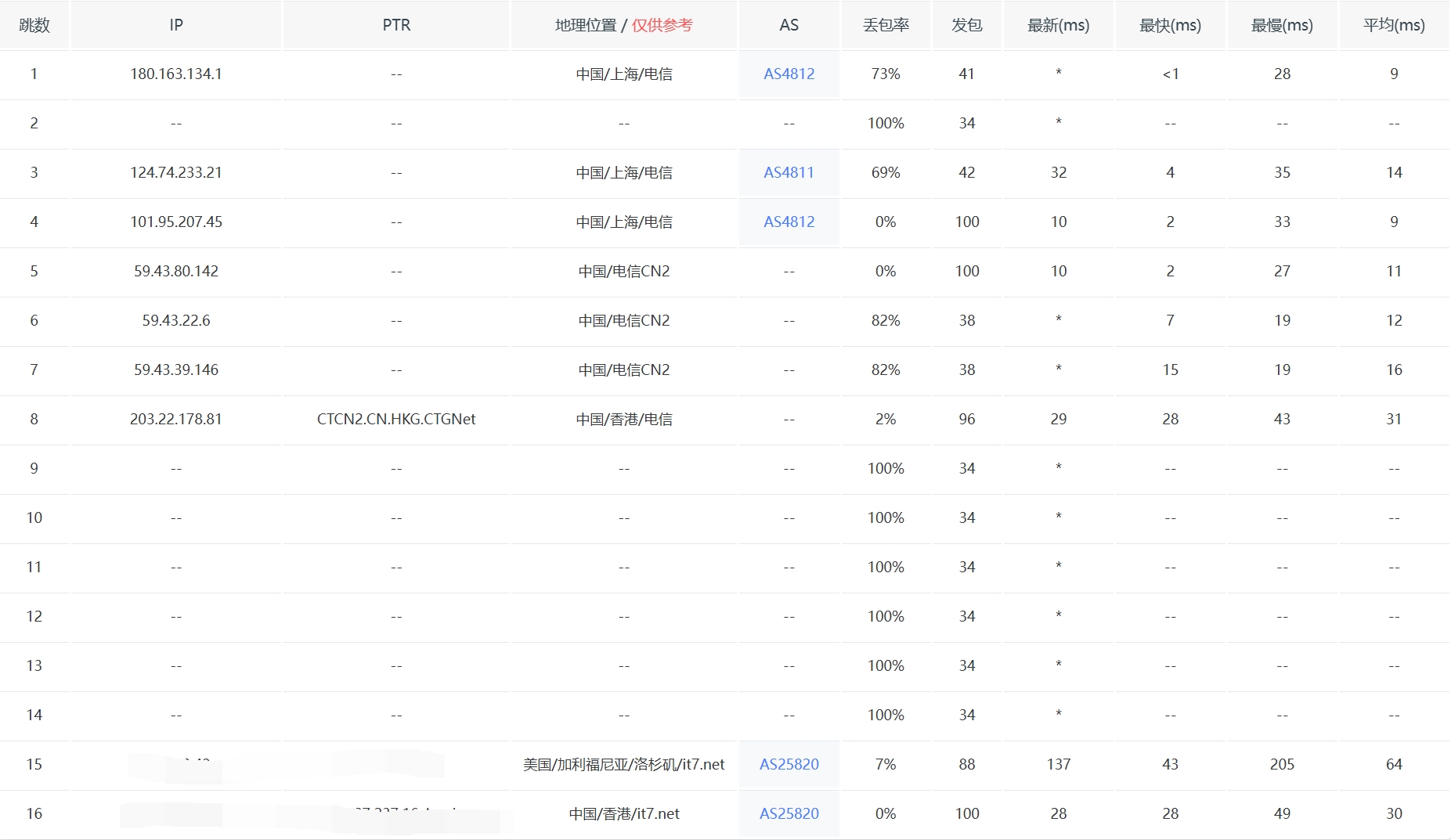
去程路由
回程路由
硬件质量

国内三网延迟
IP 质量
流媒体解锁
全网请求时间
心跳线

Speedtest
Speedtest(本地电信 300M · Reality)
| 多线程 |
单线程 |
 |
 |
Cloudflare(本地电信 300M · Reality)
Fast(本地电信 300M · Reality)
Fiber (本地电信 300M · Reality)
YouTube(本地电信 300M · Reality)
|